Deutschland: Bruttostromerzeugung 2015 wie viel Wind?
EEG 2017 - Ausbaukorridor Wind an
Land wie viel MW?
EEG 2017 - Ausbaukorridor Wind auf
See welche Leistung?
10H Regel
Typologie und typische Anwendungen von WIndrädern:
Vertikale Achse
Vorteile:
Vertikale Achse
Nachteile:
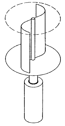
Vertikale Achse: Savonius-Rotor
Vorteie:
Vertikale Achse: Savonius-Rotor
Nachteile:
Anwendungen:
Vertikale Achse: Darrieus-Rotor
Vorteile:
Darrieus-Rotor Nachteile:
Vertikale Achse: Darrieus- mit Savonius-Rotor
Nachteil:
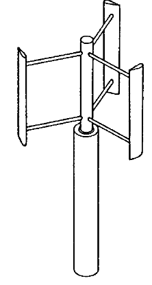
Vertikale Achse: H-Rotor
Vorteile:
H-Rotor Nachteile:
H-Rotor Anwendungen:
wie sind Kleinwindkraftanlagen
eigentlich definiert?
Größe nach BWE:
Derzeit leistungsstärkste WEA onshore: EIgenschaften:
Höchste Windkraftanlage: N117 3MW
Derzeit leistungsstärkste OWEA mit dem
größten Rotordurchmesser: V164
Take-Home-Message (I)
Take-Home-Message (II)
Take-Home-Message (III)