U1 Buchproduktion

Description

Thema U1; Medienproduktion (Buchproduktion) für die Abschlussprüfung Mediengestalter Sommer 2016
Lena A.
Slide Set by Lena A., updated more than 1 year ago
Lena A.
Created by Lena A. over 9 years ago
3276
2

Resource summary

Slide 1

    Buchproduktion
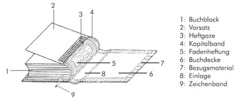
    Definition Buch: Buchblock ist durch Vorsatz und Nachsatz mit der Buchdecke des Einbandes verbunden Buchdecke steht 3-seitig über den Buchblock hinaus Bücher haben einen Fälzel oder Gazestreifen Buchblock wird vor der Verbindung mit der Buchdecke 3-seitig beschnitten wird fadengeheftet und an den Seiten mit Kapitalband „verschönert“ immer Hardcover! Gliederung eines BuchesEin Buch ist im Prinzip immer nach dem gleichen Schema gegliedert: Titelseiten oder Titelbogen Inhalt mit Text-/ und oder Bildseiten Anhang
    Definition Broschur: Zeitschriften, Gebrauchsanweisungen, Prospekte, Kataloge, Taschenbücher Einlagenbroschur: bestehen aus 1 gefalzten Bogen Mehrlagenbroschur: bestehen aus mehreren Falzbogen Einzelblattbroschur: wird aus einzelnen Blättern gebildet immer Softcover! Schutzumschlag: bei hochwertigen Produkten wird um den normalen Umschlag herumgelegt, um Buch zu schützen

Slide 2

    Hardcover: harter Umschlag --> Karton Überzug wird bedruckt und auf den Karton übergezogen Buchdeckel ist nicht mit Buchrücken verbunden hochwertiges Produkt immer bei Büchern Softcover: softer / weicher Umschlag, der direkt bedruckt wird immer bei Broschuren
    Hard- und Softcover

Slide 3

Slide 4

Slide 5

Slide 6

    Bindearten
    Klebebindung: Buchrücken wird beschnitten und abgefräst Rücken wird geleimt zusammentragen es gibt verschiedene Klebstoffe: Hotmelt, Dispersionsklebstoffe, Polyurethanklebstoffe Produkte: Taschenbücher, Kataloge, Zeitschriften (Broschuren), aber auch Bücher

Slide 7

    Bindearten
    Fadenheften: hochwertige Bindeart zusammengetragene Falzbogen werden mit Heftfäden zusammengenäht Fadenrückstichheften: Sammeln, ähnlich wie Drahtheftung Buchfadenheften: Zusammentragen, Falzbogen werden aneinander geheftet Vorteil: hohe Festigkeit, mit vielen Papieren einsetzbarNachteil: Langsam und aufwendig, komplizierte MaschinenProdukte: Bücher, Broschuren

Slide 8

    Bindearten
    Fadensiegeln: Fadenheften mit Klebebindung wird vereint Fadenklammer wird durch Bundsteg gesteckt Fäden bestehen aus Textil und Kunststoff, wird nach dem Zusammentragen über einem Heizelement verschmolzen Vorteil: Bund der Lagen wird nicht aufgefräst --> bis zum Bund aufschlagbar, hohe Festigkeit Unterschied zur Fadenheftung: einzelne Bogen werden nicht nochmal miteinander verbunden.Produkte: Bücher, Broschuren

Slide 9

    Bindearten
    Sammelheften / Rückstichheftung Falzbogen werden gesammelt (ineinander gesteckt) danach werden die gesammelten Bogen mit Klammern durch den Rücken geheftet anschließend 3-seitig beschnitten Produkte: Prospekte, Zeitschriften mit geringem Umfang, Schülerzeitung, Kataloge

Slide 10

    Bindearten
    Kammbindung & Spiral- und PlastikbindungBesonderheiten: preiswert, schnell und unkompliziert, Dokument lässt sich vollkommen plan liegend aufschlagen, Maschinen und Verbrauchsmaterialien vergleichsweise sehr günstig.Produkte:Kalender, Kleinstauflagen, technische Handbücher, Bewerbungen.
    Caption: :
    Caption: :

Slide 11

    Buch wird vom Autor gestaltet / geschrieben Texte / Layout wird an den Verlag weitergegeben Verlag beauftragt die Druckerei, das Buch zu drucken Daten kommen in Druckerei Daten werden ausgeschossen Druckplatten werden erstellt Druckbogen werden gedruckt Falzen der Druckbogen in Falzmaschine Vorsatz wird an Druckbogen angeklebt Falzbogen werden zusammengetragen und Reihenfolge anhand der Flattermarke überprüft
    Workflow eines Buches mit Fadenheftung
    Falzbogen werden mit Faden aneinandergeheftet Rücken wird abgeleimt (damit es noch besser hält) Buchblock wird 3-seitig beschnitten Buchrücken wird gerundet, Kapitalband wird angeklebt Buchdecke wird hergestellt (eigentlich zeitgleich mit Inhalts-Produktion) Buchblock wird in Buchdecke eingehängt Buch kommt fertig aus der Maschine Mit Klebebindung: Druckbogen falzen Zusammentragen Falzbogen aufschneiden und abfräsen mit Leim einschmieren Inhalt in Umschlag einhängen  3-seitig beschneiden Fertig

Slide 12

Slide 13

    Caption: : A = Vorschlag, Vorraum, B = Headline, C = Initial, D = Marginalie, E = Subheadline, F = Toter Kolumnentitel, G = Lebender Kolumnentitel, H = Grundtext/Bodytext, I = Frußnoten (hier durch Linie abgetrennt)
    Werksatz Doppelseite

Slide 14

    Begriffe – Titelei
    TiteleiVorsatz: verbindet den Buchblock vorne und hinten mit dem Buchdeckel und ähnelt optisch einer in der Mitte gefalzten DoppelseiteHaupttitel:Titelseite eines Buches; beinhaltet Titel des Buches, Untertitel, Vorname und Familienname des Verfassers, ggf. akademischer Titel, ggf. Herausgeber, Verlag, Verlagsort und ErscheinungsjahrSchmutztitel:griffige Kurztitel des Werkes bezeichnet, der auf einer gesonderten, dem eigentlichen Titelblatt vorangestellte Seite aufgeführt ist. Diese zusätzliche Seite nennt sich Schmutztitelseite und ist die erste/oberste Seite des Buchblocks. Sie trägt in der Seitenzählung (Paginierung) die nicht aufgedruckte Nummer 1.
    Widmung: ist der Ausdruck freundlicher Verbundenheit oder des Dankes des Autors eines Werkes ab eine Person, die ihm nahesteht.Frontispiz:eine dekorative oder informative Abbildung (oder ein Foto des Autors), die sich auf der zweiten, dem Titelblatt gegenüberliegenden Seite befindet.Inhaltsverzeichnis:ein stichwortartiges Verzeichnis. Es gibt einen Überblick zum Inhalt eines Buches (nicht paginiert)

Slide 15

    Begriffe – Textteil
    TextteilVakatseite:absichtliche Leerseite (Platzhalter oder als visuelle Trennung von Buchthemen)Initiale:der grafisch gestaltete/schmückende Anfangsbuchstabe eines NamensAuszeichnung:Hervorhebung wichtiger Textstellen (Bold, Italic etc.)Marginalien: Randbemerkung, die einen Kommentar, Hinweis oder eine Korrektur zu einer Stelle des Textes bietetHurenkind:die letzte Zeile eines Absatzes, wenn sie zugleich die erste einer neuen Seite oder Spalte ist.
    Schusterjunge:eine am Seitren- oder Spaltenende stehende Zeile eines neuen Absatzes, der auf der Folgeseite fortgestezt wirdFußnoten/Anmerkungen:eine Anmerkung, die im Druck-Layout aus dem Fließtext ausgelagert wird, um den Text flüssig lesbar zu gestalten.  Es ist eine Anmerkung, Legende, Bemerkung, Quellenangabe oder weiterführende rklärung zu einem Text- oder Bildmotiv.Schlusskolumne:(auch Spitzkolumne) füllt der Textblock nicht den kompletten Satzspiegel nach unten aus (z. B. am Kapitelende)Spitzmarken:eine vor allem im Journalismus einleitende Information zu Beginn einer Nachricht oder Pressemitteilung

Slide 16

    Begriffe – Textteil
    Einzug:Ein Einzug bezeichnet in der Typografie einen Leerraum zu Beginn der ersten Zeile eines Absatzes. Vor allem beim Satz umfangreicher Texte (wie in Büchern) werden Einzüge gern verwendet, um Texte zu strukturieren.Rubriken:Abschnitt, Kategorie, in der man etwas einteilt, feststehende Überschriften in einer TageszeitungAnfangskolumne:(auch Kolumnentitel) Kopfzeilen, Titel und Kolumnentitel sind Textzeilenm die sich auf jeder Seite wiederholen wie eine Kapitelüberschrift oder der Titel der ganzen Publikation
    Lebender Kolumnentitel:eine Seiten- oder Kapitelzahl mit beigefügtem Text, der auf den nachfolgenden Seiten seinen Inhalt ändert. Er kann beispielsweise aus Hauptüberschriften, Kapitelüberschriften, Untertiteln oder Rubrikentiteln etc. bestehen. Gehört zum SatzspiegelToter Kolumnentitel:versteht die traditionelle Buchtypografie wie Pagina, also die Seitenzahl eines Buches, wobei heute auch eine Seiten- oder Kapitelzahl mit beigefügtem Text so bezeichnet wird, der sich auf den nachfolgenden Seiten nicht ändert. Gehört nicht zum Satzspiegel

Slide 17

    Begriffe – Anhang
    AnhangLiteraturverzeichnis:eine unselbstständige Zusammenstellung von Literaturhinweisen in alphabetischer oder systematischer FormQuellenangaben:in einer Veröffentlichung der Verweis auf eine Informationsquelle, auf die zurückgegriffen wurde, beispielsweise ein Buch oder ZeitungsartikelImpressum/Kolophon:eine gesetzlich vorgeschriebene Herkunftsangabe, die Angaben über den Verlag, Autor, Herausgeber oder die Redaktion enthält, vor allem um die presserechtlich für den Inhalt Verantwortlichen kenntlich zu machen
    Register:(auch Index oder Stichwortverzeichnis) ist die tabellarische Aufzählung möglichst aller wichtigen Einheiten eines Kollektivs mit Hinweis auf ihre Stellung im Kollektiv (Beispiel: Namen der in einem Buch erwähnten Personen nebst Seitenzahl)Glossar:eine Liste von Wörtern mit beigefügten Erklärungen oder ÜbersetzungenAbbildungs-, Tabellen- und Formelverzeichnis:ist in der ein Wort, Abbildung, Tabelle, Formel etc., as der inhaltlichen rschließung eines Dokuments dient. Vom Standpunkt des Suchenden aus ist es der Suchbegriff
Show full summary Hide full summary

Similar

U7 Datenmengenberechnung
Lena A.
U5 Meta-Elemente
Lena A.
U6 Bildbearbeitung
Lena A.
U3 Netzwerkprotokolle
Lena A.
U12 (Print) Ausschießen
Lena A.
U10 (Print) Gestaltungsraster
Lena A.
U2 Farbseparation
Lena A.
U8 Datenbanken in CMS
Lena A.
U5 Mobiles Webdesign
Lena A.
U4 Hardwareschnittstellen
Lena A.
U9 Corporate Identity
Lena A.