Unidad 2 DIBUJO PROYECTIVO

Description

unidad 2
Jhon Freddy  Ortiz Gallego
Mind Map by Jhon Freddy Ortiz Gallego , updated more than 1 year ago
Jhon Freddy  Ortiz Gallego
Created by Jhon Freddy Ortiz Gallego almost 10 years ago
71
0

Resource summary

Unidad 2 DIBUJO PROYECTIVO
  1. FUNDAMENTOS
    1. ÁREA DE TRABAJO
      1. INTRODUCCIÓN DE DATOS
        1. ES EL USO DE PROGRAMAS COMPUTACIONALES PARA CREAR REPRESENTACIONES GRÁFICAS DE OBJETOS FÍSICOS YA SEA EN 2D O 3D
          1. SELECCIÓN DE ELEMENTOS
            1. TEXTO
            2. DIBUJO
              1. EDICIÓN DE DIBUJO
                1. ADMINISTRACIÓN DE DIBUJO
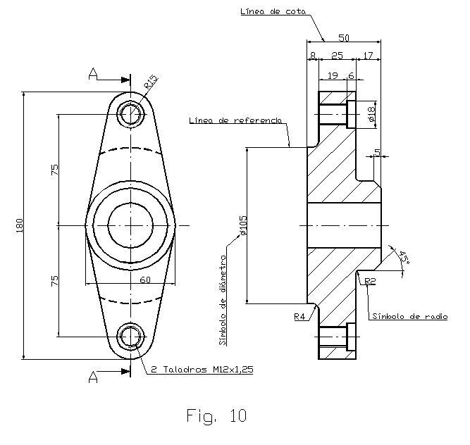
              2. DIMENSIONAMIENTO
            3. SISTEMAS DE REPRESENTACIÓN
              1. AXONOMETRÍA
                1. REPRESENTACIÓN GRÁFICA DE ELEMENTOS GEOMÉTRICOS O VOLÚMENES EN UN PLANO MEDIANTE PROYECCIÓN PARALELA O CILÍNDRICA A TRES EJES ORTOGONALES
                2. ISO A-ISO E
                  1. NORMA EUROPEA ISO-E O DIN Y NORMA AMERICANA ISO-A O ASA
                3. PRINCIPIOS GENERALES DE REPRESENTACION
                  1. VISTAS
                    1. LINEAS
                      1. SECCIONES
                        1. OTRAS CONVENCIONES
                        2. DIMENSIONAMIENTO
                          Show full summary Hide full summary

                          Similar

                          LA INGENIERIA Y LOS PROCESOS DE MANUFACTURA
                          Jorgenoboa
                          INSTRUMENTOS PARA MEDIR VARIABLES
                          Alexandra Donoso
                          principales tópicos del OVI Teoría de descripción de la forma, capítulo 6 libro Jensen (Dibujo y diseño en ingeniería) y OVA Reconocimiento de vistas.
                          yenny paola mondragon
                          UNIDAD 1: DIBUJO NORMALIZADO
                          yasmin adriana orjuela sanchez
                          UNIDAD 1 DIBUJO NORMALIZADO
                          Erick Cely
                          Contenidos - Momento 3.
                          Oscar Soler
                          DIBUJO DE INGENIERÍA UNIDAD 1
                          Karen Daritza Collazos Gamboa
                          DIBUJO NORMALIZADO
                          luis quintero
                          Unidad 1 Dibujo Normalizado
                          julian valencia
                          DIBUJO DE INGENIERIA
                          Fabian Salguero
                          UNIDAD 1 Dibujo Normalizado
                          cpguzmana