DIBUJO TÉCNICO

Description

Descripción del contenido del curso Dibujo tenico Unad Unidad uno
GINNA ORTIZ
Mind Map by GINNA ORTIZ, updated more than 1 year ago
GINNA ORTIZ
Created by GINNA ORTIZ over 9 years ago
109
0

Resource summary

DIBUJO TÉCNICO
  1. UNIDAD II DIBUJO PROYECTIVO
    1. DIBUJO PROYECTIVO 1 FUNDAMENTOS CAD Y DIBUJO PROYECTIVO 2 DESCRIPCIÓN DE LA FORMA
      1. PRINCIPIOS GENERALES DE REPRESENTACIÓN
        1. OTRAS CONVENCIONES
          1. SECCIONES
            1. LINEAS
              1. LINEAS NORMALIZADAS
              2. VISTAS
                1. TIPOS DE VIASTAS
                  1. VISTAS NECESARIAS
                    1. ALZADO
                      1. PEPRFIL
                        1. PLANTA
                        2. VISTAS ESPECIALES
                          1. VISTAS AUXILIARES
                      2. SISTEMAS DE REPRESENTACIÓN
                        1. ISO A- ISO E
                          1. AXOMETRIA
                          2. DIMENSIONAMIENTO
                            1. APLICACIÓN DE NORMAS INCONTEC
                              1. NTC 1722 TOLERANCIA DE DIMENSIONES LINEALES Y ANGULARES
                                1. NTC 1831 TOLERANCIAS GEOMÉTRICAS
                                  1. NTC 1960 PRINCIPIOS GENERALES DE DIMENSIONAMIENTO
                                    1. NTC 1001 TIPOS DE FORMATO Y DIMENSIONES
                                      1. NTC 1777 PRINCIPIOS DE PRESENTACIÓN
                                    2. TEXTO
                                      1. VAMOS AL COMANDO TEXTO, LUEGO ESCOGEMOS NOTA Y SELECCIONAMOS LA PARTE DONDE QUEREMOS QUE NOS INGRESE EL TEXTO
                                      2. ADMINISTRACIÓN DEL DIBUJO
                                        1. OPCIONES DE DIBUJO
                                        2. EDICIÓN DE DIBUJO
                                          1. MEDIANTE LA UTILIZACIÓN DE LOS COMANDOS PERO PRIMERAMENTE SELECCIONAMOS EL OBJETO A MODIFICAR
                                          2. SELECCIÓN DE ELEMENTOS
                                            1. HACIENDO CLIC IZQUIERDO SOBRE EL OBJETO Y ME DOY CUENTA QUE ESTA SELECCIONADO CUANDO APARECEN UNOS NODOS EN EL DIBUJO
                                            2. INTRODUCCIÓN DE DATOS
                                              1. SISTEMA DE COORDENADAS
                                                1. TIPOS DE COORDENADAS
                                                  1. ABSOLUTAS
                                                    1. (X,Y) DONDE LA COMA SIEMPRE VA SER UN INDICADOR DE COORDENADAS
                                                      1. POR EL CONTRARIO EL PUNTO VA SER UN INDICADOR DECIMAL
                                                      2. RELATIVAS
                                                        1. DEBE HABER UN PUNTO DE ORIGEN DEFINIDO YA SEA POR UNA COORENADA CARTESIANA O UN CLÍCK EN UN ÁREA ESPECÍFICA
                                                          1. LUEGO EL SISTEMA PEDIRÁ UN SEGUNDO PUNTO DEFIINIDO POR EL DESPLZAMIENTO EN EL EJE X Y EL DESPLAZAMIENTO EN EL EJE Y (DESCRIPCIÓN DE COORDENDAS)
                                                            1. SIEMPRE EL PUNTO ANTECESOR O ANTERIOR SE ENTIENDE COMO EL PUNTO DE ORIGEN (0,0)
                                                              1. EJEMPLO DE COORDENADA (30,30) O (@90,0)
                                                        2. POLARES
                                                          1. DEFINIR UN PUNTO DE ORIGEN Y LA FÓRMULA DE LA COORDENADA ES DISTANCIA -ÁNGULO EJEMPLO (@ 90<0)
                                                    2. AREA DE TRABAJO
                                                    3. LIBRO JENSEN
                                                      1. CAPITULO 5 GEOMETRÍA APLICADA
                                                        1. CAPITULO 2 DIBUJO CAD
                                                          1. CAPITULO 7 VISTAS AUXILIARES Y ROTACIONES
                                                            1. CAPITULO 6 DESCRIPCIÓN DE LA FORMA
                                                              1. CAPITULO 15 DIMENSIONAMIENTO Y TOLERANCIA GEOMÉTRICA
                                                                1. INTERPRETACIÓN Y DIMENSIONES
                                                                  1. TOLERANCIAS GEOMÉTRICAS
                                                                  2. CAPITULO 14 DIBUJO PANORÁMICO
                                                                    1. DIMENSIONAMIENTO ISOMÉTRICO
                                                                      1. PROYECCION AXONOMETRICA
                                                                        1. DIBUJO ISOMÉTRICO
                                                                          1. SUPERFICIES EN ISOMÉTRICOS
                                                                            1. SECCIONES ISOMÉTRICAS
                                                                              1. PROYECCIÓN OBLICUA
                                                                              2. CAPITULO 4 HABILIDADES BÁSICAS DE DIBUJO
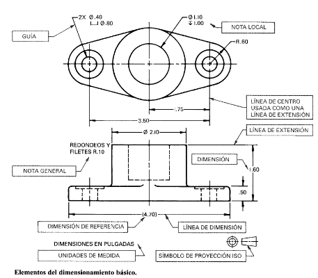
                                                                                1. CAPITULO 8 DIMENSIONAMIENTO BÁSICO
                                                                                  1. CAPITULO 9 SECCIONES
                                                                                Show full summary Hide full summary

                                                                                Similar

                                                                                EVALUACIÓN DE DIBUJO TECNICO
                                                                                Jorge Arevalo
                                                                                SECCIONES CÓNICAS
                                                                                maluna_02
                                                                                LA PERPENDICULARIDAD, EL PARALELISMO Y LOS ÁNGULOS
                                                                                Chenxi Ye
                                                                                Axonometría
                                                                                Micaela Reinoso
                                                                                Sistemas de proyección. Geometría descriptiva I
                                                                                idsh24
                                                                                MÉTODO MONGE O SISTEMA DIÉDRICO
                                                                                Alex Martínez
                                                                                Tangencias.
                                                                                Paco Sanchidrián
                                                                                Dibujo Normalizado
                                                                                jean frederick pulido parra
                                                                                Unidad 1 y Libro de Jensen Dibujo de Ingeniería
                                                                                CARMIÑA CHICO
                                                                                Unidad III - Dibujo de Conjunto
                                                                                Mariana Cardozo
                                                                                DIBUJO PROYECTIVO UNIDAD 2
                                                                                Hector E Carvajal