Unidad 2 Formatos Normalizados

Description

Dibujo Normalizado
David Dominguez
Mind Map by David Dominguez, updated more than 1 year ago
David Dominguez
Created by David Dominguez about 9 years ago
59
0

Resource summary

Unidad 2 Formatos Normalizados
  1. ESCALAS
    1. Que es la escala? Relación existente entre la dimensión lineal de un elemento de objeto tal como se representa en el dibujo, y la dimensión real del mismo elemento.
      1. Norma técnica colombiana 1580
        1. Esta norma tiene como objeto establecer las escalas y su designación para uso en todos los dibujos técnicos en cualquier rama de la ingeniería y el diseño.
          1. Escala natural: Escala con relación 1:1
            1. Escala de reducción: Escala en la cual la relación es menor que 1:1. Se dice que son menores en la medida que la razón decrece. Se representa 1:X
              1. Escala de ampliación: escala en la cual la relación es mayor que 1:1. Se dice que son mayores a medida que la razón aumenta. Se representa X:1
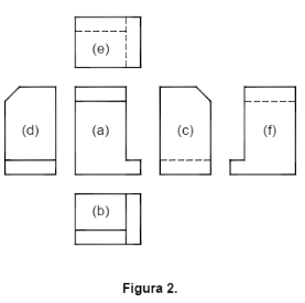
        2. VISTAS
          1. Norma tecnica colombiana 1777
            1. Que son? Se denominan vistas principales de un objeto, a las proyecciones ortogonales del mismo sobre 6 planos, dispuestos en forma de cubo. También se podría definir las vistas como, las proyecciones ortogonales de un objeto, según las distintas direcciones desde donde se mire.
              1. Como se obtienen? de los 6 lados que tiene una figura se obtienen las vistas de los 3 lados, ya que estas son suficientes para saber como es la figura y poder realizarlo
                1. Denominacion de vistas
                  1. Direccion A Vista= de frente Dirección B Vista= superior Dirección C Vista= izquierda Dirección D Vista= derecha Dirección E Vista= inferior Dirección F Vista= posterior
                2. Vistas auxiliares Se utilizan para ver una vista desde una dirección diferente si no se puede colocar una vista en su posición correcta, se usaran flechas de referencia para ver la vista como corresponde.
                  1. Vistas parciales: se podrán usar cuando las vistas completas no mejoran la información. La vista parcial debe estar cortada por una delgada línea punteada, o por líneas rectas en zig-zag.
                    1. Vistas locales: está permitida cuando se trata de objetos simétricos. la vista local puede estar dibujada como proyección del tercer ángulo, sin contar con la disposición del dibujo general.
                3. LINEAS
                  1. Que son? Tamaño de un papel en orden a su dimensión de largo y ancho. En los dibujos técnicos se utilizan diferentes tipos de líneas, sus tipos y espesores, han sido normalizados en las diferentes normas.
                    1. Norma tecnica colombiana 1777 Y 1782
                      1. El espacio entre líneas paralelas no será menor que dos veces el espesor de la línea más gruesa de estas con un valor mínimo de 0,7 mm
                        1. Se debe evitar el negreado de áreas grandes, si es necesario se hara achurado o punteado. Las secciones delegadas pueden ser negreadas siempre y cuando su mayor ancho, dado en la presentación original, no sea mayor que 3 mm. En todos los casos, los espacios alrededor de dichas secciones no serán menores que 0,7.
                    2. FORMATO
                      1. Norma tecnica colombiana 1687
                        1. Formatos regulares: Son todos los semejantes. Tamaños de papel establecido según las especificaciones NTC 1001
                          1. Plegados Plegados: Proceso de doblar e igualar con la debida proporción los formatos que se han de encuadernar para su archivo. El plegado también se aplica para formato individual o grupos de formatos que se han de archivar.
                            1. Formato Oblongos: estos formatos se utilizan en longitud o altura
                              1. Formatos excepcionales: estos formatos se utilizan esencialmente en su longitud. Deben denominarse por sus dimensiones expresadas en mm, en forma de un producto, empezando por la anchura de la bobina de la que salen. Su superficie siempre es un múltiplo de 0,125 m^2
                            2. CORTES
                              1. Norma tecnica colombiana 1777
                                1. Un corte es el artificio mediante el cual, en la representación de una pieza, eliminamos parte de la misma, con objeto de clarificar y hacer más sencilla su representación y acotación.
                              Show full summary Hide full summary

                              Similar

                              LA INGENIERIA Y LOS PROCESOS DE MANUFACTURA
                              Jorgenoboa
                              INSTRUMENTOS PARA MEDIR VARIABLES
                              Alexandra Donoso
                              CÁLCULO DE ÍNDICES REACTIVOS Y PROACTIVOS
                              Andrs
                              DIBUJO NORMALIZADO NORMAS TECNICAS PARA DIBUJO TECNICO ICONTEC
                              lida sofia garcia gonzalez
                              Dibujo de Conjunto
                              Heidy Gutierrez Garcia
                              ESTÁTICA Y RESISTENCIA DE MATERIALES
                              julian valencia
                              NORMAS DE CONVIVENCIA
                              MLaura
                              Norma ISO 19011
                              tics.angiiemendo
                              UNIDAD 1: DIBUJO NORMALIZADO
                              yasmin adriana orjuela sanchez
                              LOGISTICA Y CADENAS DE SUMINISTRO
                              julian valencia
                              Diseño de Plantas Industriales.
                              Juliana Correa