Momento 2 Dibujo Proyectivo

Description

Dibujo proyectivo y dibujo tecnico
Ingenieria industrial
Mind Map by Ingenieria industrial, updated more than 1 year ago
Ingenieria industrial
Created by Ingenieria industrial almost 9 years ago
122
0

Resource summary

Momento 2 Dibujo Proyectivo
  1. Formatos Normalizados
    1. El dibujo técnico es un sistema de representación gráfica de diversos tipos de objetos, con el propósito de proporcionar información suficiente para facilitar su análisis, ayudar a elaborar su diseño y posibilitar su futura construcción y mantenimiento. Suele realizarse con el auxilio de medios informatizados o, directamente, sobre el papel u otros soportes planos. La representación gráfica se basa en la geometría descriptiva y utiliza las proyecciones ortogonales para dibujar las distintas vistas de un objeto.
    2. Lineas Normalizads
      1. La línea en el dibujo técnico es una entidad fundamental o quizás la más importante de este. Se utiliza para ayudar a ilustrar y describir la forma de objetos. Los principales tipos de líneas usados en dibujo técnico son
        1. • Línea oculta: se usa para mostrar superficies, bordes o esquinas de objetos que están ocultas a la vista, y generalmente se representan por líneas segmentadas • Línea central o de centro: llamada también línea de eje, su función es mostrar centros de cavidades y características simétricas • Líneas de simetría: al igual que la línea de centro se usa para delimitar la mitad de una pieza simétrica pero con la diferencia que en esta solo se colocará cuando se dibujan vistas parciales de dichas piezas y se identifica por tener dos líneas paralelas • Línea de dimensión: forma parte de las líneas de acotación de un objeto • Líneas guía: indican la parte de un objeto a la que hace referencia una nota • Línea de ruptura: se utiliza cuando se desea acortar la representación de una pieza larga • Línea de corte plano: se utiliza para indicar donde se realizó un corte imaginario • Línea de sección: se utiliza para indicar la superficie en la vista de una sección • Línea virtual: también l
      2. Escalas Normalizadas
        1. La representación de objetos a su tamaño natural no es posible cuando éstos son muy grandes o cuando son muy pequeños. En el primer caso, porque requerirían formatos de dimensiones poco manejables y en el segundo, porque faltaría claridad en la definición de los mismos. Esta problemática la resuelve la ESCALA, aplicando la ampliación o reducción necesarias en cada caso para que los objetos queden claramente representados en el plano del dibujo. Se define la ESCALA como la relación entre la dimensión dibujada respecto de su dimensión real, esto es: Escala Si el numerador de esta fracción es mayor que el denominador, se trata de una escala de ampliación, y será de reducción en caso contrario. La escala 1:1 corresponde a un objeto dibujado a su tamaño real (escala natural)
        2. Vistas
          1. Tipos de Vistas
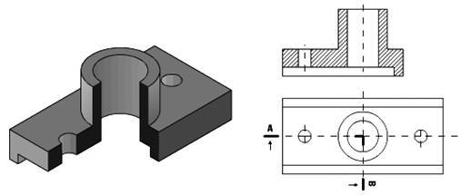
            1. Vista anterior. La que se obtiene al observar el cuerpo o pieza de frente, consi­derando esta posición como la inicial del observador “A”. Vista superior. La que se obtiene al observar el cuerpo o pieza desde arriba “B”. Vista lateral izquierda. La que se obtiene al observar el cuerpo o pieza desde la izquierda de la posición inicial del observador “C”. Vista lateral derecha. La que se obtiene al observar el cuerpo o pieza desde la derecha de la posición inicial del observador “D”. Vista inferior. La que se obtiene al observar el cuerpo o pieza desde abajo “E”. Vista posterior. La que se obtiene al observar el cuerpo o pieza desde atrás “F”.
              1. Vista fundamental Proyección del cuerpo o pieza sobre uno de los planos del triedro fundamental, planos “A”, “B” y “C”. Es la vista que se elige por permitir una mejor visualización de las características generales
                1. Vistas auxiliares Las que se obtienen al proyectar el cuerpo o pieza, o partes de ellos que interesen especialmente, sobre planos no paralelos a los del triedro fundamental.
                  1. Vistas principales Vistas del cuerpo o pieza sobre planos paralelos a los del trie­dro fundamental, situados a la izquierda, arriba y adelante del cuerpo, planos "D","E" y "F".
                    1. Determinación de vistas De acuerdo con el triedro fundamental y los planos pa­ralelos al mismo, se obtienen tres vistas fundamenta­les, "A", "B" y "C", y tres vistas principales, "D", "E" y "F”. Las flechas indican el sentido de observación perpendicular a cada plano de proyección
                      1. Prepetiva Conicas Las perspectivas cónicas son las que usualmente se usan en arquitectura. Se usan poco para la representación de piezas y elementos de máquinas. En cambio se usan frecuentemente para esto, las perspectivas paralelas.
                        1. perspectiva caballera supone un frente, con las medidas reales de sus dos dimensiones (alto y ancho), y una tercera medida de profundidad que es la mitad de la profundidad, que es la mitad de la real y se dibuja con un ángulo de 45º. También se puede dibujar en escala manteniendo las proporciones indicadas.
                          1. Prespectiva Isometrica en esta perspectiva se usan escuadras de 30º y 60º. Esta perspectiva, a diferencia que la caballera, se realiza con las medidas de alto, largo y ancho reales.
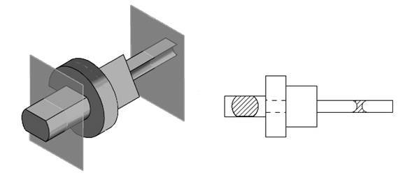
                    2. Cortes: Un corte es una representación de la parte de una pieza que fue dividida a través de un plano de corte donde este último crea una superficie que se representa en una vista junto con todo lo que se encuentra detrás de ella. El corte se representa en las vistas del dibujo a través de una línea fina de trazo y punto con dos líneas gruesas en los extremos, debajo de las cuales se colocan unas flechas que indican el sentido de visualización del corte y sobre ellas dos letras en mayúscula que le dan un nombre al mismo. Leer más:
                      1. Tipos de Cortes
                        1. Por un solo Plano
                          1. Por Planos Paralelos
                            1. Con giro
                              1. Semicorte o cuadrante:
                                1. Parcial
                              2. Secciones :Una sección es la representación de la zona de una pieza por donde pasa el plano de corte donde este último crea una superficie que se representa en una vista. Las secciones normalmente llevan un rayado de líneas de trazo fino paralelas e inclinadas a 45 grados con respecto al eje o base de la pieza. Leer más:
                                1. Sección Abatida ,Sección Desplazada,
                                2. Roturas Cuando se dibujan objetos muy largos que por sus dimensiones queden muy ajustados o no quepan dentro del espacio de papel, se elimina a través de las roturas una parte de la pieza que no es necesaria para su comprensión, por lo tanto, las roturas ahorran espacio en la representación y la limitan a las partes suficientes para su definición y acotación, sin embargo siempre se debe indicar con una cota la longitud total de la pieza Leer más
                                  Show full summary Hide full summary

                                  Similar

                                  UNIDAD II DIBUJO PROYECTIVO
                                  anyimartinezrued
                                  DIBUJO PROYECTIVO
                                  Diana Castro
                                  FORMATOS NORMALIZADOS
                                  JAIRO GUERRERO
                                  MAPA MENTAL DE DIBUJO MOMENTO 2 DE FORMATOS NORMALIZADOS/LINEAS NORMALIZADAS/ESCALAS NORMALIZADAS/VISTAS Y CORTES
                                  oscar f. ortiz saenz
                                  Unidad 2: Dibujo proyectivo
                                  El Javier
                                  Dibujo de Ingeniería. Unidad 2
                                  Alix Aguirre
                                  Unidad 2. Dibujo Proyectivo 1. Fundamentos CAD
                                  Rob Var
                                  Dibujo Proyectivo / UNAD
                                  Eduard Andrei Sandoval Garcia
                                  LAURA CATALINA VASQUEZ VALENCIA DIBUJO DE INGENIERÍA GRUPO 22 PERIODO 2
                                  Laura Catalina Vásquez Valencia
                                  DIBUJO TÉCNICO
                                  freylan solarte
                                  DIBUJO PROYECTIVO Dibujo de Ingeniería UNAD Grupo 212060_57
                                  Jaime Salazar