JAVIER MORENO RODRIGUEZ - MOMENTO 3

Description

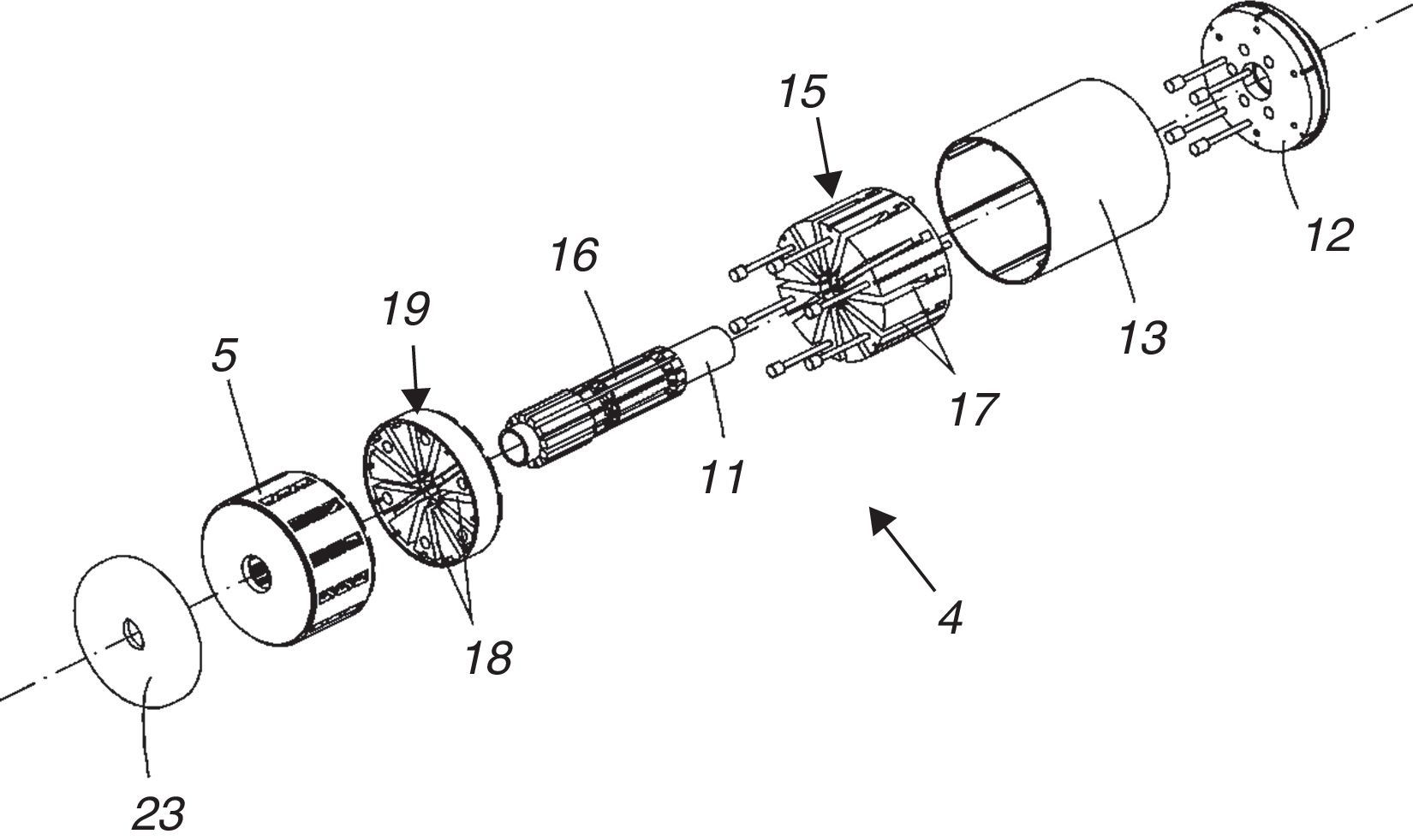
DIBUJO DE CONJUNTO - UNIDAD 3
JAVIER MORENO RODRIGUEZ
Mind Map by JAVIER MORENO RODRIGUEZ, updated more than 1 year ago
JAVIER MORENO RODRIGUEZ
Created by JAVIER MORENO RODRIGUEZ almost 9 years ago
123
0

Resource summary

JAVIER MORENO RODRIGUEZ - MOMENTO 3
  1. LISTA DE PARTES
    1. ICONTEC - NTC 2058
      1. Establece la lista de Itemes que se utilizan en los dibujos técnicos
        1. Producción
          1. Compra de partes
            1. Puede estar presente en el dibujo o documento adicional
              1. Unida al rótulo
                1. La lista debe contener
                  1. Item, Descripción, Cantidad, Referencia, Material, Número de almacenaje, masa unitaria, estado de entrega, Observaciones
                  2. La norma hace mención a la posición de la lista dentro del dibujo
                2. CECIL JENSEN
                  1. Consideraciones de revisión
                    1. Expansión Material Tolerancias
                    2. Consideraciones de dibujo
                      1. Abreviaturas Dimensiones Revisiones Escalas
                      2. Consideraciones de fabricación
                        1. Adhesivos fundición Moldeado
                        2. Consideraciones de instalación
                          1. Ensamblado Espaciado Referencias y recursos
                          2. Dibujo funcional - Dibujo de detalle - Dibujo de detalle Múltiple - Revisiones del Dibujo - Dibujos de Ensamble
                        3. REFERENCIA A LOS ELEMENTOS
                          1. ICONTEC - NTC 2099
                            1. Identificación de partes componentes de ensambles y/o Identificación de partes individuales detalladas en un mismo dibujo
                              1. Las referencias deben ser asignadas en orden secuencial
                                1. Las referencias deben ubicarse fuera del contorno del objeto a referenciar
                                2. ICONTEC NTC 2048
                                  1. Establece la representación simplificada de orificios de centrado y su designación
                                    1. Representación simplificada - Designación de orificios de centrado - Interpretación de Indicación
                                    2. Proporciones y dimensiones de símbolos
                                      1. Requisitos Generales - Proporciones - Dimensiones -
                                    3. CECIL JENSEN
                                      1. Dibujos del diseño del ensamble - Dibujos de instalación del ensamble - Dibujos de ensamble para catálogos - Lista de componentes
                                        1. Dibujos de Ensamble Explosivo
                                          1. Ensamble Explosivo Panorámico - Ensamble Explosivo Ortográfico
                                          2. Dibujos de Subensambles
                                        2. DIBUJO DE DESPIECE DE UN OBJETO
                                          1. ES LA REPRESENTACION GRAFICA DE CADA UNA DE LAS PIEZASQUE CONFORMAN UN MECANISMO O MAQUINA, OBTENIDO A PARTIR DEL CORRESPONDIENTE DIBUJO DE CONJUNTO, HACIENDO POSIBLE LA POESTERIOR FABRICACION INDIVIDUAL DE LAS PIEZAS.
                                            1. INCLUYE
                                              1. FORMAS Y DIMENSIONES - TOLERANCIAS - ACABADOS SUPERFICIALES - TRATAMIENTOS Y RECUBRIMIENTOS - MATERIALES - ETC.
                                              2. REPRESENTACION
                                                1. DESMONTAR IMAGINARIAMENTE EL CONJUNTO - APLICAR NORMAS AL DIBUJO DE PIEZASINDEPENDIENTES - CADA PIEZA SE REPRESENTA CON VISTAS, CORTES, SECCIONES Y DETALLES NECESARIOS - COMENZAR EL DESPIECE POR LAS PIEZAS MAS SIMPLES - USAR ESCALAS NORMALIZADAS - SE DEBEN ACOTAR LAS PIEZAS - SE UTILIZA UN PLANO PARA CADA PIEZA
                                              3. DIBUJO DE CONJUNTO
                                                1. REPRESENTACION GRAFICA DE UN GRUPO DE PIEZAS QUE CONSTITUYEN UN MECANISMO, MAQUINA O UNA INSTALACION, DONDE TODOS LOS ELEMENTOS APARECEN MONTADOS Y UNIDOS. ES MUY IMPORTANTE PARA EFECTUAR LA LABOR DE MONTAJE DE LA MAQUINA, FACILITA LAS LABORES DE MANTENIMIENTO
                                                  1. TIPOS
                                                    1. DIBUJO DE CONJUNTO GENERAL - DIBUJO DE SUBCONJUNTO -
                                                      1. REPRESENTACION
                                                        1. PERSPECTIVA ISOMETRICA DEL CONJUNTO - PERSPECTIVA ISOMETRICA EXPLOSIONADA O ESTALLADA DEL CONJUNTO - POR MEDIO DE VISTAS, ESQUEMATICA
                                                    2. DIBUJO DE CONJUNTO EN EXPLOSION
                                                      1. TIENE COMO FINALIDAD INDICAR EN FORMA ORDENADA Y PRECISA LA SECUENCIA DE UBICACION DE LAS PIEZAS QUE CONFORMAN UN CONJUNTO TRAS SUFRIR ESTAS EN DESPLAZAMIENTO (DESMONTE). SE CONOCE TAMBIEN CON EL NOMBRE DE DIBUJO DE MONTAJE
                                                      2. PLM
                                                        1. ADMINISTRACION DEL CICLO DE VIDA DE PRODUCTO
                                                          1. ESTRATEGIA PARA MEJORAR LA COMPETITIVIDAD EMPRESARIAL, MANEJANDO INTEGRADAMENTE LA INFORMACION DEL PRODUCTO DESDE CONCEPTO INICIAL HASTA EL FINAL DE SU VIDA
                                                            1. SOLUCIONES INFORMATICAS CONVERGENTES
                                                              1. CAD/CAE - CADD - CAPP - PPC - CAM - CAQC - CASMC
                                                        Show full summary Hide full summary

                                                        Similar

                                                        INGENIERIA DE MATERIALES
                                                        Ricardo Álvarez
                                                        Elementos Básicos de Ingeniería Ambiental
                                                        Evilus Rada
                                                        Historia de la Ingeniería
                                                        Camila González
                                                        Introducción a la Ingeniería de Software
                                                        David Pacheco Ji
                                                        UNIDAD II DIBUJO PROYECTIVO
                                                        anyimartinezrued
                                                        GENERALIDADES DE LAS EDIFICACIONES
                                                        yessi.marenco17
                                                        MAPA MENTAL SOFTWARE APLICADOS EN INGENIERÍA CIVIL
                                                        Ruben Dario Acosta P
                                                        Examen Ingeniería Electromecánica II
                                                        Jorge Cabrera7516
                                                        Normas que Rigen la Ingenieria Mecanica
                                                        Francisco Balderas Garcia
                                                        Estado de la ingenería mecánica y su perspectiva a futuro
                                                        Roberto Martinez
                                                        MAPA CONCEPTUAL SOBRE LA INICIATIVA CDIO
                                                        Victor Antonio Rodriguez Castañeda