DIBUJO normalizado

Description

dibujo de ingeniería Universidad Nacional Abierta y a Distancia UNAD
Sandra Pinto
Mind Map by Sandra Pinto, updated more than 1 year ago More Less
JHOAN BAYRON QUINTERO HERRERA
Created by JHOAN BAYRON QUINTERO HERRERA almost 9 years ago
Sandra Pinto
Copied by Sandra Pinto over 6 years ago
7
0

Resource summary

DIBUJO normalizado
  1. FORMATOS NORMALIZADOS
    1. Se llama formato a la hoja de papel en que se realiza un dibujo, cuya forma y dimensiones en mm están normalizados.
      1. Las dimensiones de los formatos responden a las reglas de doblado, semejanza y referencia. Según las cuales:
        1. Un formato se obtiene por doblado transversal del inmediato superior. La relación entre los lados de un formato es igual a la relación existente entre el lado de un cuadrado y su diagonal, es decir 1/√2 . Y finalmente para la obtención de los formatos se parte de un formato base de 1 m².
          1. Aplicando estas tres reglas, se determina las dimensiones del formato base llamado A0 cuyas dimensiones serían 1189 x 841 mm. El resto de formatos de la serie A, se obtendrán por doblados sucesivos del formato A0. La norma estable para sobres, carpetas, archivadores, etc. dos series auxiliares B y C.
      2. LÍNEAS NORMALIZADAS
        1. En los dibujos técnicos se utilizan diferentes tipos de líneas, sus tipos y espesores, han sido normalizados en las diferentes normas.
        2. ESCALAS NORMALIZADAS
          1. La escala es la relación existente entre un objeto representado con el objeto real. Existen tres formas de presentación de un dibujo según su tamaño:
            1. Escala natural:
              1. es la escala real de un objeto, cuando se representa con las dimensiones reales y queda del mismo tamaño que el objeto en su realidad. La relación del objeto con el dibujo en este caso es de uno: uno, por lo tanto se representa así: 1:1
              2. Escala de reducción:
                1. Es cuando la representación en el dibujo es de menor tamaño que el objeto real, pero conserva la proporción, de tal forma que el objeto real se identifica con el número 1 y las veces que se reduce con Y, por lo tanto 1:Y señala que la representación está en decrecimiento. Cuando se escribe que el dibujo se encuentra a escala 1:50 se está indicando que el objeto real se está reduciendo en el dibujo 50 veces; entonces, en este caso el dibujo se encuentra 50 veces reducido a la realidad, 50 veces más pequeño que el objeto real.
                2. Escala de ampliación:
                  1. Cuando el dibujo está representado en un mayor tamaño del real. La proporción de esta escala es X:1, en donde X es el número de veces que es aumentado de tamaño el objeto real y 1 indica el tamaño real. Un dibujo que señale una escala de 2:1 está indicando que el objeto real está representado al doble de su tamaño real.
              3. VISTAS
                1. Se denominan vistas principales de un objeto, a las proyecciones ortogonales del mismo sobre 6 planos, dispuestos en forma de cubo. También se podría definir las vistas como, las proyecciones ortogonales de un objeto, según las distintas direcciones desde donde se mire.
                  1. Si situamos un observador según las seis direcciones indicadas por las flechas, obtendríamos las seis vistas posibles de un objeto.
                    1. Vista D: Vista izquierda o lateral izquierda
                      1. Vista E: Vista inferior
                        1. Vista B: Vista superior o planta
                          1. Vista C: Vista derecha o lateral derecha
                            1. Vista A: Vista de frente o alzado
                              1. Vista F: Vista posterior
                              2. Vistas Especiales
                                1. Simétricas
                                  1. En los casos de piezas con uno o varios ejes de simetría, puede representarse dicha pieza mediante una fracción de su vista (figuras 1 y 2). La traza del plano de simetría que limita el contorno de la vista, se marca en cada uno de sus extremos con dos pequeños trazos finos paralelos, perpendiculares al eje. También se pueden prolongar las arista de la pieza, ligeramente más allá de la traza del plano de simetría, en cuyo caso, no se indicarán los trazos paralelos en los extremos del eje (figura 3).
                                  2. Detalles
                                    1. Si un detalle de una pieza, no quedara bien definido mediante las vistas normales, podrá dibujarse un vista parcial de dicho detalle. En la vista de detalle, se indicará la letra mayúscula identificativa de la dirección desde la que se ve dicha vista, y se limitará mediante una línea fina a mano alzada. La visual que la originó se identificará mediante una flecha y una letra mayúscula como en el apartado anterior (figuras 6).
                                      1. En otras ocasiones, el problema resulta ser las pequeñas dimensiones de un detalle de la pieza, que impide su correcta interpretación y acotación. En este caso se podrá realizar una vista de detalle ampliada convenientemente. La zona ampliada, se identificará mediante un círculo de línea fina y una letra mayúscula; en la vista ampliada se indicará la letra de identificación y la escala utilizada (figuras 7).
                                      2. Locales
                                        1. En elementos simétricos, se permite realizar vistas locales en lugar de una vista completa. Para la representación de estas vistas se seguirá el método del tercer diedro, independientemente del método general de representación adoptado. Estas vistas locales se dibujan con línea gruesa, y unidas a la vista principal por una línea fina de trazo y punto (figuras 8 y 9).
                                        2. Giradas
                                          1. Tienen como objetivo, el evitar la representación de elementos de objetos, que en vista normal no aparecerían con su verdadera forma. Suele presentarse en piezas con nervios o brazos que forman ángulos distintos de 90º respecto a las direcciones principales de los ejes. Se representará una vista en posición real, y la otra eliminando el ángulo de inclinación del detalle (figuras 10 y 11).
                                          2. Auxiliares
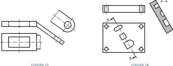
                                            1. En ocasiones se presentan elementos en piezas, que resultan oblicuos respecto a los planos de proyección. Con el objeto de evitar la proyección deformada de esos elementos, se procede a realizar su proyección sobre planos auxiliares oblicuos. Dicha proyección se limitará a la zona oblicua, de esta forma dicho elemento quedará definido por una vista normal y completa y otra parcial (figuras 13). En ocasiones determinados elementos de una pieza resultan oblicuos respecto a todos los planos de proyección, en estos casos habrá de realizarse dos cambios de planos, para obtener la verdadera magnitud de dicho elemento, estas vistas se denominan vistas auxiliares dobles.
                                              1. Si partes interiores de una pieza ocupan posiciones especiales oblicuas, respecto a los planos de proyección, se podrá realizar un corte auxiliar oblicuo, que se proyectará paralelo al plano de corte y abatido. En este corte las partes exteriores vistas de la pieza no se representan, y solo se dibuja el contorno del corte y las aristas que aparecen como consecuencia del mismo (figura 14).
                                              2. Intersecciones Ficticias
                                                1. En ocasiones las intersecciones de superficies, no se produce de forma clara, es el caso de los redondeos, chaflanes, piezas obtenidas por doblado o intersecciones de cilindros de igual o distinto diámetro. En estos casos las líneas de intersección se representarán mediante una línea fina que no toque los contornos de la piezas. Los tres ejemplos siguientes muestran claramente la mecánica de este tipo de intersecciones (figuras 18, 19 y 20).
                                            2. CORTES, SECCIONES Y ROTURAS
                                              1. Un corte es el artificio mediante el cual, en la representación de una pieza, eliminamos parte de la misma, con objeto de clarificar y hacer más sencilla su representación y acotación.
                                                1. CORTES
                                                  1. Un corte es el artificio mediante el cual, en la representación de una pieza, eliminamos parte de la misma, con objeto de clarificar y hacer más sencilla su representación y acotación. En principio el mecanismo es muy sencillo. Adoptado uno o varios planos de corte, eliminaremos ficticiamente de la pieza, la parte más cercana al observador, como puede verse en las figuras.
                                                  2. SECCIONES
                                                    1. Se denomina sección a la intersección del plano de corte con la pieza (la superficie indicada de color rojo), como puede apreciarse cuando se representa una sección, a diferencia de un corte, no se representa el resto de la pieza que queda detrás de la misma. Siempre que sea posible, se preferirá representar la sección, ya que resulta más clara y sencilla su representación.
                                                    2. ROTURAS
                                                      1. Están normalizadas, y su tipos son los siguientes:
                                                        1. 1. Las normas UNE definen solo dos tipos de roturas (figuras 1 y 2), la primera se indica mediante una línea fina, como la de los ejes, a mano alzada y ligeramente curvada, la segunda suele utilizarse en trabajos por ordenador. 2. En piezas en cuña y piramidales (figuras 3 y 4), se utiliza la misma línea fina y ligeramente curva. En estas piezas debe mantenerse la inclinación de las aristas de la pieza. 3. En piezas de madera, la línea de rotura se indicará con una línea en zig-zag (figura 5). 4. En piezas cilíndricas macizas, la línea de rotura de indicará mediante las características lazadas (figura 6).
                                                          1. 5. En piezas cónicas, la línea de rotura se indicará como en el caso anterior, mediante lazadas, si bien estas resultarán de diferente tamaño (figura 7). 6. En piezas cilíndricas huecas (tubos), la línea de rotura se indicará mediante una doble lazada, que patentizarán los diámetros interior y exterior (figura 8). 7. Cuando las piezas tengan una configuración uniforme, la rotura podrá indicarse con una línea de trazo y punto fina, como la las líneas de los ejes (figura 9).
                                                    Show full summary Hide full summary

                                                    Similar