UNIDAD II

Description

Unidad II
raulk090
Mind Map by raulk090, updated more than 1 year ago
raulk090
Created by raulk090 about 10 years ago
27
0

Resource summary

UNIDAD II
  1. Fundamentos CAD
    1. Diseña en dos o tres dimensiones mediante geometría alámbrica.
      1. puntos, líneas, arcos, splines etc.
    2. Sistema de represantación
      1. Axonometría
        1. Es un sistema de representación gráfica, consistente en representar elementos geométricos o volúmenes en un plano, mediante proyección paralela o cilíndrica, referida a tres ejes ortogonales, de tal forma que conserven sus proporciones en cada una de las tres direcciones del espacio: altura, anchura y longitud.
        2. ISO A-ISO E
          1. Ejemplos Dibujos panoramicos
          2. Principios generales de respresentación
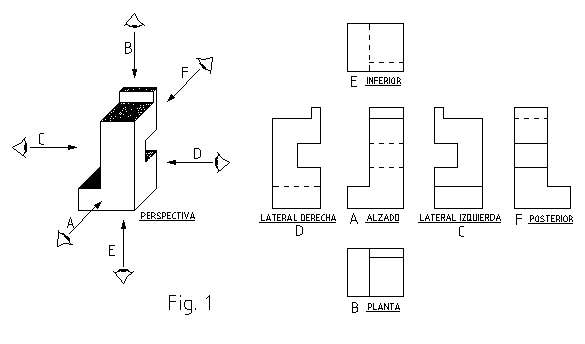
            1. Vistas
              1. Líneas
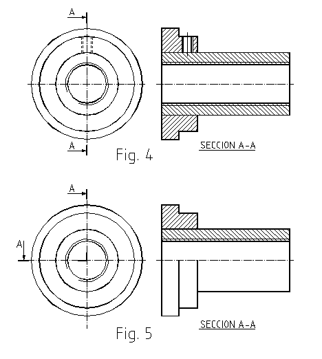
                1. Secciones
                2. Icontec
                  1. Dimensionamiento
                    1. Dimensionamiento es el proceso por medio del cual se indican las medidas de los objetosrepresentados en un dibujo
                    Show full summary Hide full summary

                    Similar

                    UNIDAD II DIBUJO PROYECTIVO
                    anyimartinezrued
                    DIBUJO DE INGENIERIA
                    cristianstivenre
                    UNIDAD II DIBUJO PROYECYIVO
                    yiseth_amis
                    Dibujo Proyectivo
                    Natali Alvarez
                    UNIDAD II DIBUJO PROYECTIVO
                    senaida Quiroz
                    JUSTICIA INDÍGENA
                    Edgar Sarzosa
                    Unidad 2: Dibujo proyectivo
                    El Javier
                    Momento 2 Dibujo Proyectivo
                    Ingenieria industrial
                    Unidad 2:Dibujo Proyectivo
                    Arianna Montesdeoca
                    Unidad 2. Dibujo Proyectivo 1. Fundamentos CAD
                    Rob Var
                    Dibujo Proyectivo / UNAD
                    Eduard Andrei Sandoval Garcia