DIBUJO PROYECTIVO

Description

Normas de Incontec
Oscar  Martinez Urieles
Mind Map by Oscar Martinez Urieles, updated more than 1 year ago
Oscar  Martinez Urieles
Created by Oscar Martinez Urieles over 9 years ago
46
0

Resource summary

DIBUJO PROYECTIVO
  1. NTC 1687 - DIBUJO TÉCNICO - FORMATO Y PLEGADO DE LOS DIBUJOS
    1. Los formatos se definen por su superficie y sus dimensiones (expresadas en mm) de acuerdo con la siguiente tabla:
    2. NTC 1580 – ESCALAS
      1. ESCALAS NORMALIZADAS
        1. Escala: relación existente entre la dimensión lineal de un elemento de un objeto tal como se representan en el dibujo y la dimensión real del mismo elemento.
      2. NORMA ISO 128 82 EQUIVALENTE A LA NORMA ESPAÑOLA UNE 1-032-82
        1. VISTAS NECESARIAS
          1. • Mínimas • Suficientes • Adecuadas
            1. Para que la pieza quede total y correctamente definida, se debe: Simplicidad y Claridad. Cuando sea representada por una sola vista, se indicará con indicaciones especiales. En piezas de revolución se incluye el símbolo del diámetro (figura1) En piezas prismáticas o troncopiramidales, se incluye el símbolo del cuadrado y/o la “cruz de San Andrés” (figura 2) En piezas de espesor uniforme, basta con hacer dicha especificación en un lugar bien visible (figura 3)
          2. VISTAS ESPECIALES
            1. VISTAS AUXILIARES: Se usan flechas de referencia
              1. VISTAS SIMÉTRICAS: Cuando en una pieza hay varios ejes de simetría, se representa mediante una fracción de su vista
                1. • VISTAS CAMBIADAS DE POSICIÓN: Se indicaran mediante una flecha y una letra mayúscula.
                  1. VISTA DE DETALLE: Si un detalle de una pieza no queda bien definido, podrá dibujarse una vista parcial de dicho detalle se indicara con letra mayúscula
                    1. VISTAS GIRADAS: las vistas suelen presentarse en piezas con nervios o brazos que forman ángulos distintos de 90° respecto a las direcciones principales de los ejes. Una vista en posición real y otra eliminando el ángulo de inclinación del detalle
                      1. VISTAS LOCALES: Utilizar vistas del tercer diedro, se dibujan con líneas gruesas y unidas a la vista
                        1. INTERSECCIONES FICTICIAS: Se representarán mediante una línea fina que no toquen los contornos de la pieza
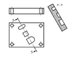
                        2. CORTES, SECCIONES Y ROTURAS: QUÉ SON Y CÓMO SE REPRESENTAN
                          1. Un Corte es el artificio mediante el cual, en la representación de una pieza eliminamos parte de la misma, con el objeto de clarificar y hacer más sencilla su representación y acotación
                            1. Se denomina sección a la intersección del plano de corte con la pieza, no se representa el resto de la pieza que queda detrás de la misma, (la superficie de color rojo)
                              1. Las roturas y sus tipos son los siguientes: Define dos tipos de roturas la primera se indica mediante una línea fina, como la de los ejes, ligeramente curvada, la segunda suele utilizarse en trabajos por ordenador
                                1. Las piezas cilíndricas macizas, la línea de rotura se indicara mediante la característica lazada
                                  1. Piezas cónicas la línea se indicará mediante lazada. Piezas cilíndricas huecas (tubos) Piezas uniformes la rotura será con una línea de trazo y punto fina.
                              2. NTC 1777 – PRINCIPIOS GENERALES DE PRESENTACIÓN
                                1. LINEAS NORMALIZADAS Se deben usar sólo los tipos y espesores de las líneas indicadas
                                Show full summary Hide full summary

                                Similar

                                UNIDAD II DIBUJO PROYECTIVO
                                anyimartinezrued
                                Alfonso_Nuñez - 212060_102
                                Alfonso nuñez
                                FORMATOS NORMALIZADOS
                                JAIRO GUERRERO
                                MAPA MENTAL DE DIBUJO MOMENTO 2 DE FORMATOS NORMALIZADOS/LINEAS NORMALIZADAS/ESCALAS NORMALIZADAS/VISTAS Y CORTES
                                oscar f. ortiz saenz
                                Unidad 2: Dibujo proyectivo
                                El Javier
                                Vistas especiales
                                Diana Mendoza
                                Momento 2 Dibujo Proyectivo
                                Ingenieria industrial
                                Dibujo de Ingeniería. Unidad 2
                                Alix Aguirre
                                Unidad 2. Dibujo Proyectivo 1. Fundamentos CAD
                                Rob Var
                                Dibujo Proyectivo / UNAD
                                Eduard Andrei Sandoval Garcia
                                LAURA CATALINA VASQUEZ VALENCIA DIBUJO DE INGENIERÍA GRUPO 22 PERIODO 2
                                Laura Catalina Vásquez Valencia