Mileidys Torres_Unidad 2 Dibujo Tecnico

Description

Dibujo tecnico
Mileidys Torres
Mind Map by Mileidys Torres, updated more than 1 year ago
Mileidys Torres
Created by Mileidys Torres about 9 years ago
49
0

Resource summary

Mileidys Torres_Unidad 2 Dibujo Tecnico
  1. FORMATOS NORMALIZADOS
    1. CONCEPTO:
      1. Se llama formato a la hoja de papel en que se realiza un dibujo, cuya forma y dimensiones en mm. están normalizados. En la norma UNE 1026-2 83 Parte 2, equivalente a la ISO 5457, se especifican las características de los formatos.
      2. DIMENCIONES
          1. LINEAS NORMALIZADAS
            1. CLASES DE LINEAS
              1. En las siguientes figuras, puede apreciarse los diferentes tipos de líneas y sus aplicaciones. En el cuadro adjunto se concretan los diferentes tipos, su designación y aplicaciones concretas.
              2. ESCALAS NORMALIZADAS
                1. ¿Qué son?
                  1. La representación de objetos a su tamaño natural no es posible cuando éstos son muy grandes o cuando son muy pequeños. En el primer caso, porque requerirían formatos de dimensiones poco manejables y en el segundo, porque faltaría claridad en la definición de los mismos. Esta problemática la resuelve la ESCALA, aplicando la ampliación o reducción necesarias en cada caso para que los objetos queden claramente representados en el plano del dibujo. Se define la ESCALA como la relación entre la dimensión dibujada respecto de su dimensión real.
                  2. ¿Comó se construyen?
                      1. Si el numerador de esta fracción es mayor que el denominador, se trata de una escala de ampliación, y será de reducción en caso contrario. La escala 1:1 corresponde a un objeto dibujado a su tamaño real (escala natural).
                    1. ¿Cuáles son las mas comunes?
                      1. Aunque, en teoría, sea posible aplicar cualquier valor de escala, en la práctica se recomienda el uso de ciertos valores normalizados con objeto de facilitar la lectura de dimensiones mediante el uso de reglas o escalímetros.
                    2. VISTAS
                      1. ¿Cómo se obtienen?
                        1. 1. Traza dos ejes perpendiculares.
                          1. 2. Dibuja el alzado de la figura.
                            1. 3. Prolonga las lineas perpendiculares del alzado hacia abajo para determinar el ancho de la planta.
                              1. 4. Dibuja la planta.
                                1. 5. Prolonga las lineas horizontales del alzado hacia abajo para determinar el ancho de la planta.
                                  1. 6. Dibuja el perfil. (el perfil izquierdo se dibuja en la derecha y el perfil izquierdo en la derecha).
                                    1. 7. Las lineas ocultas que no se ven pero están detrás de una cara (cuando hay un hueco) se dibujan con linea discontinua.
                                    2. Vistas necesarias
                                      1. Se denominan vistas principales o necesarias de un objeto, a las proyecciones ortogonales del mismo sobre 6 planos, dispuestos en forma de cubo. También se podría definir las vistas como, las proyecciones ortogonales de un objeto, según las distintas direcciones desde donde se mire.
                                      2. Vistas especiales
                                        1. Simétricas
                                          1. En los casos de piezas con uno o varios ejes de simetría, puede representarse dicha pieza mediante una fracción de su vista (figuras 1 y 2). La traza del plano de simetría que limita el contorno de la vista, se marca en cada uno de sus extremos con dos pequeños trazos finos paralelos, perpendiculares al eje. También se pueden prolongar las arista de la pieza, ligeramente más allá de la traza del plano de simetría, en cuyo caso, no se indicarán los trazos paralelos en los extremos del eje (figura 3).
                                          2. Detalles
                                            1. Si un detalle de una pieza, no quedara bien definido mediante las vistas normales, podrá dibujarse un vista parcial de dicho detalle. En la vista de detalle, se indicará la letra mayúscula identificativa de la dirección desde la que se ve dicha vista, y se limitará mediante una línea fina a mano alzada. La visual que la originó se identificará mediante una flecha y una letra mayúscula como en el apartado anterior (figuras 6).
                                            2. Locales
                                              1. En elementos simétricos, se permite realizar vistas locales en lugar de una vista completa. Para la representación de estas vistas se seguirá el método del tercer diedro, independientemente del método general de representación adoptado. Estas vistas locales se dibujan con línea gruesa, y unidas a la vista principal por una línea fina de trazo y punto (figuras 8 y 9).
                                              2. Giradas
                                                1. Tienen como objetivo, el evitar la representación de elementos de objetos, que en vista normal no aparecerían con su verdadera forma. Suele presentarse en piezas con nervios o brazos que forman ángulos distintos de 90º respecto a las direcciones principales de los ejes. Se representará una vista en posición real, y la otra eliminando el ángulo de inclinación del detalle (figuras 10 y 11).
                                                2. Auxiliares
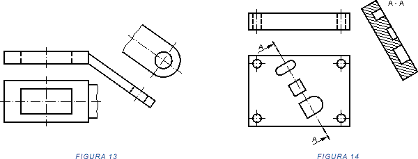
                                                  1. En ocasiones se presentan elementos en piezas, que resultan oblicuos respecto a los planos de proyección. Con el objeto de evitar la proyección deformada de esos elementos, se procede a realizar su proyección sobre planos auxiliares oblicuos. Dicha proyección se limitará a la zona oblicua, de esta forma dicho elemento quedará definido por una vista normal y completa y otra parcial (figuras 13). En ocasiones determinados elementos de una pieza resultan oblicuos respecto a todos los planos de proyección, en estos casos habrá de realizarse dos cambios de planos, para obtener la verdadera magnitud de dicho elemento, estas vistas se denominan vistas auxiliares dobles. Si partes interiores de una pieza ocupan posiciones especiales oblicuas, respecto a los planos de proyección, se podrá realizar un corte auxiliar oblicuo, que se proyectará paralelo al plano de corte y abatido. En este corte las partes exteriores vistas de la pieza no se representan, y solo se dibuja el contorno del corte y l
                                                  2. Ficticias
                                                    1. En ocasiones las intersecciones de superficies, no se produce de forma clara, es el caso de los redondeos, chaflanes, piezas obtenidas por doblado o intersecciones de cilindros de igual o distinto diámetro. En estos casos las líneas de intersección se representarán mediante una línea fina que no toque los contornos de la piezas. Los tres ejemplos siguientes muestran claramente la mecánica de este tipo de intersecciones (figuras 18, 19 y 20).
                                                  3. Cortes
                                                    1. Un corte es el artificio mediante el cual, en la representación de una pieza, eliminamos parte de la misma, con objeto de clarificar y hacer más sencilla su representación y acotación.
                                                    2. Secciones
                                                      1. Se denomina sección a la intersección del plano de corte con la pieza (la superficie indicada de color rojo), como puede apreciarse cuando se representa una sección, a diferencia de un corte, no se representa el resto de la pieza que queda detrás de la misma. Siempre que sea posible, se preferirá representar la sección, ya que resulta más clara y sencilla su representación.
                                                      2. Roturas
                                                        1. Cuando se trata de dibujar objetos largos y uniformes, se suelen representar interrumpidos por líneas de rotura. Las roturas ahorran espacio de representación, al suprimir partes constantes y regulares de las piezas, y limitar la representación, a las partes suficientes para su definición y acotación.
                                                      Show full summary Hide full summary

                                                      Similar

                                                      FORMATOS NORMALIZADOS. ESCALAS, LINEAS, VISTAS, CORTES, SECCIONES Y ROTURAS DE DIBUJO TECNICO
                                                      Franky Camargo
                                                      Danny Fabian Guacas. Grupo 76. Segundo Semestre.
                                                      danny guacas
                                                      Unidad 2 Dibujo proyectivo
                                                      Norman Abril
                                                      Dibujo de ingenieria
                                                      yerson correa
                                                      DIBUJO DE INGENIERIA PARTE 1 Y PARTE 2
                                                      Alejandro Vargas Garzón
                                                      Mauricio López-Dibujo Técnico-Unidad 2
                                                      Alejandro Vargas Garzón
                                                      DIBUJO PROYECTIVO
                                                      Orlando Sachica
                                                      DIBUJO PROYECTIVO DIANA IVON CALDAS ACERO GRUPO: 22
                                                      DIANA IVON CALDAS ACERO
                                                      Dibujo Proyectivo, unidad 2
                                                      lina vaquiro
                                                      Dibujo de Ingeniería - Unidad 2
                                                      Amparo López
                                                      UNIDAD 2: DIBUJO PROYECTIVO JHON RAMIREZ
                                                      jhon anderson ramirez tamayo