FORMATOS NORMALIZADOS. ESCALAS, LINEAS, VISTAS, CORTES, SECCIONES Y ROTURAS DE DIBUJO TECNICO

Description

inevestigar los tipos de lineas, escalas y formatos de dibujo tecnico
Franky Camargo
Mind Map by Franky Camargo, updated more than 1 year ago
Franky Camargo
Created by Franky Camargo almost 9 years ago
2124
3

Resource summary

FORMATOS NORMALIZADOS. ESCALAS, LINEAS, VISTAS, CORTES, SECCIONES Y ROTURAS DE DIBUJO TECNICO
  1. FORMATOS NORMALIZADOS
    1. Los soportes de papel que se utilizan para la representación de objetos en ingeniería tienen unas dimensiones que se aceptan de forma generalizada a nivel internacional, o lo que es lo mismo, se encuentran “normalizadas”. La norma ISO 5457 especifica las características de los formatos. Esta norma adopta una o varias designaciones diferentes (puede dividirse en varias normas) en las adaptaciones que se realizan en cada país
      1. Estas dimensiones se recogen bajo el concepto de “formatos de dibujo” y se obtienen de la aplicación de tres reglas: • Referencia: El formato de base, denominado A0, tiene un metro cuadrado de superficie. ( x * y = 1 metro cuadrado) • Semejanza: La relación entre los lados del formato (base/altura) es la que existe entre el valor del lado de un cuadrado y la longitud de su diagonal (1/raíz de dos). • Doblado: Al doblar un formato por la mitad de su lado mayor, se obtienen dos formatos iguales (siguiente formato)
        1. Así, si doblamos un formato A0, se obtienen dos formatos A1. Si doblamos un formato A1, se obtienen dos formatos A2. Si doblamos un formato A2, se obtienen dos formatos A3
          1. Vemos por lo tanto que de un formato A0 se pueden obtener por doblado: • dos A1 ( 2 elevado a 1 ) • cuatro A2 ( 2 elevado a 2 ) • ocho A3 ( 2 elevado a 3 ) • 2 elevado a N formatos AN
    2. ESCALAS NORMALIZDAS
      1. En los dibujos técnicos se utilizan diferentes tipos de líneas, sus tipos y espesores, han sido normalizados en las diferentes normas. En esta página no atendremos a la norma UNE 1-032-82, equivalente a la ISO 128-82. Solo se utilizarán los tipos y espesores de líneas indicados en la tabla adjunta. En caso de utilizar otros tipos de líneas diferentes a los indicados, o se empleen en otras aplicaciones distintas a las indicadas en la tabla, los convenios elegidos deben estar indicados en otras normas internacionales o deben citarse en una leyenda o apéndice en el dibujo de que se trate. En las siguientes figuras, puede apreciarse los diferentes tipos de líneas y sus aplicaciones. En el cuadro adjunto se concretan los diferentes tipos, su designación y aplicaciones concretas.
        1. Anchuras de las líneas Además de por su trazado, las líneas se diferencian por su anchura o grosor. En los trazados a lápiz, esta diferenciación se hace variando la presión del lápiz, o mediante la utilización de lápices de diferentes durezas. En los trazados a tinta, la anchura de la línea deberá elegirse, en función de las dimensiones o del tipo de dibujo, entre la gama siguiente: 0,18 – 0,25 – 0,35 – 0,5 – 0,7 – 1 – 1,4 y 2 mm. Dada la dificultad encontrada en ciertos procedimientos de reproducción, no se aconseja la línea de anchura 0,18. Estos valores de anchuras, que pueden parecer aleatorios, en realidad responden a la necesidad de ampliación y reducción de los planos, ya que la relación entre un formato A4 y un A3, es aproximadamente de √2. De esta forma al ampliar un formato A4 con líneas de espesor 0,5 a un formato A3, dichas líneas pasarían a ser de 5 x √2= 0,7 mm. La relación entre las anchuras de las líneas finas y gruesas en un mismo dibujo, no debe ser inferior a 2. Debe
      2. LINEAS NORMALIZADAS
        1. La representación de objetos a su tamaño natural no es posible cuando éstos son muy grandes o cuando son muy pequeños. En el primer caso, porque requerirían formatos de dimensiones poco manejables y en el segundo, porque faltaría claridad en la definición de los mismos. Esta problemática la resuelve la ESCALA, aplicando la ampliación o reducción necesarias en cada caso para que los objetos queden claramente representados en el plano del dibujo. Se define la ESCALA como la relación entre la dimensión dibujada respecto de su dimensión real, esto es: Si el numerador de esta fracción es mayor que el denominador, se trata de una escala de ampliación, y será de reducción en caso contrario. La escala 1:1 corresponde a un objeto dibujado a su tamaño real (escala natural).
          1. Escalas normalizadas Aunque, en teoría, sea posible aplicar cualquier valor de escala, en la práctica se recomienda el uso de ciertos valores normalizados con objeto de facilitar la lectura de dimensiones mediante el uso de reglas o escalímetros. Estos valores son:
            1. No obstante, en casos especiales (particularmente en construcción) se emplean ciertas escalas intermedias tales como: 1:25, 1:30, 1:40, etc…
        2. VISTAS
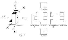
          1. Proyección ortogonal, sobre un plano, de un cuerpo o pieza situado entre el plano y el observador.
            1. Vista fundamental Proyección del cuerpo o pieza sobre uno de los planos del triedro fundamental, planos “A”, “B” y “C”. Es la vista que se elige por permitir una mejor visualización de las características generales. Vistas principales Vistas del cuerpo o pieza sobre planos paralelos a los del trie¬dro fundamental, situados a la izquierda, arriba y adelante del cuerpo, planos "D","E" y "F". Vistas auxiliares Las que se obtienen al proyectar el cuerpo o pieza, o partes de ellos que interesen especialmente, sobre planos no paralelos a los del triedro fundamental. Determinación de vistas De acuerdo con el triedro fundamental y los planos pa¬ralelos al mismo, se obtienen tres vistas fundamenta¬les, "A", "B" y "C", y tres vistas principales, "D", "E" y "F”. Las flechas indican el sentido de observación perpendicular a cada plano de proyección.
              1. Vista anterior. La que se obtiene al observar el cuerpo o pieza de frente, consi¬derando esta posición como la inicial del observador “A”. Vista superior. La que se obtiene al observar el cuerpo o pieza desde arriba “B”. Vista lateral izquierda. La que se obtiene al observar el cuerpo o pieza desde la izquierda de la posición inicial del observador “C”. Vista lateral derecha. La que se obtiene al observar el cuerpo o pieza desde la derecha de la posición inicial del observador “D”. Vista inferior. La que se obtiene al observar el cuerpo o pieza desde abajo “E”. Vista posterior. La que se obtiene al observar el cuerpo o pieza desde atrás “F”.
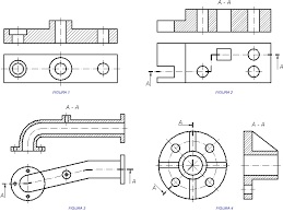
                1. Vistas especiales Con el objeto de conseguir representaciones más claras y simplificadas, ahorrando a su vez tiempo de ejecución, pueden realizarse una serie de representaciones especiales de las vistas de un objeto. A continuación detallamos los casos más significativos: Vistas de piezas simétricas En los casos de piezas con uno o varios ejes de simetría, puede representarse dicha pieza mediante una fracción de su vista (figuras 1 y 2). La traza del plano de simetría que limita el contorno de la vista, se marca en cada uno de sus extremos con dos pequeños trazos finos paralelos, perpendiculares al eje. También se pueden prolongar las arista de la pieza, ligeramente más allá de la traza del plano de simetría, en cuyo caso, no se indicarán los trazos paralelos en los extremos del eje (figura 3).
                  1. Vistas cambiadas de posición Cuando por motivos excepcionales, una vista no ocupe su posición según el método adoptado, se indicará la dirección de observación mediante una flecha y una letra mayúscula; la flecha será de mayor tamaño que las de acotación y la letra mayor que las cifras de cota. En la vista cambiada de posición se indicará dicha letra, o bien la indicación de “Visto por ..” (figuras 4 y 5).
                    1. Vistas de detalle Si un detalle de una pieza, no quedara bien definido mediante las vistas normales, podrá dibujarse un vista parcial de dicho detalle. En la vista de detalle, se indicará la letra mayúscula identificativa de la dirección desde la que se ve dicha vista, y se limitará mediante una línea fina a mano alzada. La visual que la originó se identificará mediante una flecha y una letra mayúscula como en el apartado anterior (figuras 6). En otras ocasiones, el problema resulta ser las pequeñas dimensiones de un detalle de la pieza, que impide su correcta interpretación y acotación. En este caso se podrá realizar una vista de detalle ampliada convenientemente. La zona ampliada, se identificará mediante un círculo de línea fina y una letra mayúscula; en la vista ampliada se indicará la letra de identificación y la escala utilizada (figuras 7).
                      1. Vistas locales En elementos simétricos, se permite realizar vistas locales en lugar de una vista completa. Para la representación de estas vistas se seguirá el método del tercer diedro, independientemente del método general de representación adoptado. Estas vistas locales se dibujan con línea gruesa, y unidas a la vista principal por una línea fina de trazo y punto (figuras 8 y 9).
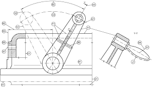
                        1. Vistas giradas Tienen como objetivo, el evitar la representación de elementos de objetos, que en vista normal no aparecerían con su verdadera forma. Suele presentarse en piezas con nervios o brazos que forman ángulos distintos de 90º respecto a las direcciones principales de los ejes. Se representará una vista en posición real, y la otra eliminando el ángulo de inclinación del detalle (figuras 10 y 11).
                          1. VISTAS GIRADAS
                            1. VISTAS DESARROLLADAS
                              1. VISTAS AUXILIARES OBLICUAS
                                1. REPRESENTACIONES CONVENCIONALES
                                  1. INTERSECCIONES FICTICIAS
                      2. CORTES, SECCIONES Y ROTURAS
                        1. CORTES Y SECCIONES
                          1. LÍNEAS DE ROTURA EN LOS MATERIALES
                            1. REPRESENTACIÓN DE LA MARCHA DE UN CORTE
                              1. NORMA PARA EL RAYADO DE LOS CORTES
                                1. ELEMENTOS QUE NO SE SECCIONAN
                                  1. TIPOS DE CORTE
                                    1. SECCIONES ABATIDAS
                                      1. 3. SECCIONES ABATIDAS SUCESIVAS
                                  Show full summary Hide full summary

                                  Similar

                                  Unidad 2 Dibujo proyectivo
                                  Norman Abril
                                  Dibujo de ingenieria
                                  yerson correa
                                  Mileidys Torres_Unidad 2 Dibujo Tecnico
                                  Mileidys Torres
                                  DIBUJO PROYECTIVO
                                  Orlando Sachica
                                  DIBUJO PROYECTIVO DIANA IVON CALDAS ACERO GRUPO: 22
                                  DIANA IVON CALDAS ACERO
                                  Dibujo de Ingeniería - Unidad 2
                                  Amparo López
                                  Danny Fabian Guacas. Grupo 76. Segundo Semestre.
                                  danny guacas
                                  Dibujo Proyectivo
                                  Ronald Pita Rey
                                  Dibujo Proyectivo, unidad 2
                                  lina vaquiro
                                  FORMATOS NORMALIZADOS
                                  JAIRO GUERRERO
                                  MAPA MENTAL DE DIBUJO MOMENTO 2 DE FORMATOS NORMALIZADOS/LINEAS NORMALIZADAS/ESCALAS NORMALIZADAS/VISTAS Y CORTES
                                  oscar f. ortiz saenz