MOMENTO 3

Description

Momento 3 (levantamiento de informacion)
Fabian Salguero
Mind Map by Fabian Salguero, updated more than 1 year ago
Fabian Salguero
Created by Fabian Salguero almost 9 years ago
72
0

Resource summary

MOMENTO 3
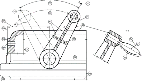
  1. DIBUJO DE DESPIECE DE UN OBJETO
    1. Que es?
      1. El dibujo de despiece es aquel que representa todas las piezas que componen una figura para su fabricacion con todas las medidas y especificaciones necesarias para su completa ejecución.
        1. Se representa de la siguiente manera:
        2. El dibujo de despiece puede dibujarse en el mismo plano del conjunto o en uno aparte, inclusive se puede utilizar un plano por cada pieza que se va a utilizar
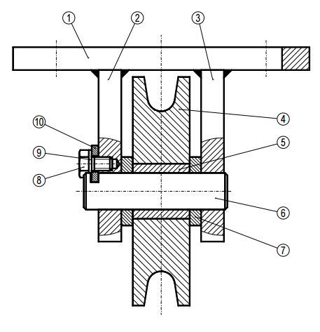
      2. DIBUJO DE CONJUNTO
        1. Que es?
          1. El dibujo de conjuntos representa una vision general de un mecanismo ensamblado con todas las piezas que lo conforman, lo que nos da una idea de su funcionamiento y como construirlo, esto facilitara el montaje del dispositico lo cual es su principal funcion.
            1. Debe primar la visión de la situación de las distintas piezas sobre la representación de los detalles. Este debe de contener: a) Relación de cada una de las piezas con respecto al resto. b) Descripción del funcionamiento c) Lista numerada de todas las piezas que componen el conjunto.
              1. Cuando se realiza un plano de conjuntos se debe tener en cuenta todos los aspectos referentes a la normalizacion como las escalas, el formato del dibugo, grosor de las lineas, etc...
                1. Para representar un dibujo de conjuntos debemos de identificar todas las piezas que lo conforman y asignarles una marca para tenerlas identidificadas a lo largo del proceso de fabricacion, para ello incluimos en el plano de conjuntos una lista de las piezas, ademas se debe colocar informacion que no se ven como las dimensiones nominales, las referencias normalizadas, materiales, designacion normalizada, entre otros
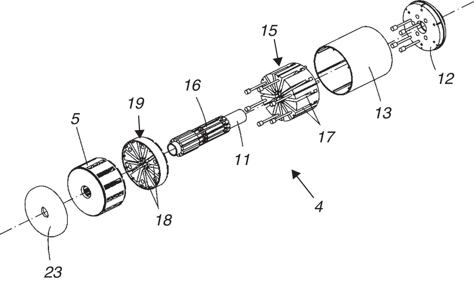
              2. DIBUJO DE CONJUNTO EN EXPLOSION
                1. Que es?
                  1. Los dibujos en explosion tambien se utilizan para mostrar el proceso de montaje de un mecanismo, pero a diferencia del dibujo de conjunto esta muestra el conjuntos de todas o algunas de las piezas de forma separada y nos ayuda a comprender la posicion de algunos componentes, se utiliza con mayor frecuencia en los mantenimientos de todo tipo de aparatos y facilita para pedir las piezas en repuesto
                    1. Los dibujos de conjunto en explosión suelen ser fáciles de obtener porque la mayoria de software CAD 3D permiten obtener ensamblajes en explosion.
                  2. PLM
                    1. El PLM (Product Life Cycle Management) estas siglas traducen "la gestión del ciclo de vida del producto" y es una estrategia empresarial que permite innovar, competir mejorar y optimizar la producción a todos los sectores de la industria. Esta estructura de gestión también puede utilizarse para el desarrollo de software y la prestación de servicios
                      1. La gestión de la vida del producto suele dividirse en las siguientes etapas: Inicio de la vida (BOL), que incluye el desarrollo de nuevos productos y procesos de diseño. Mitad de la vida (MOL), que incluye la colaboración con los proveedores y la gestión de los datos del producto y de las garantías. Fin de la vida (EOL), que tiene lugar cuando el producto deja de fabricarse, se recicla o se elimina.
                        1. Bajo esta estrategia se han desarrollado diferentes software como herramientas CAD en 3d que permiten diseñar y desarrollar proyectos en varios campos como la industria automotriz, aeroespacial por ingenieros y diseñadores, y estan orientados al diseño avanzado de proyectos, su aplicación principal es el modelado avanzado de solidos, superficies, ensamble, producción de dibujos, manufactura y análisis.
                        2. PROCESO DE DIBUJO DE LA PIEZA EN CAD CATIA
                          1. 1. construir un boceto sobre el plano x,y
                            1. 2. Instruccion 3d añadir material con operacion pad
                              1. 3. Extrusion 3d añadir material con operacion pad
                                1. 4. Extrusion 3d añadir material con operacion pad
                                  1. 5. Operacion 3d chamfer, se cambia el vertice
                                    1. 6. extraccion 3d del materia con aplicacion pocket
                                      1. 7. Capturar vistas
                                        1. 8. Usar herramientas recortes para capturar cada vista
                                          1. 9. Exportar archivo .STEP
                          Show full summary Hide full summary

                          Similar

                          principales tópicos del OVI Teoría de descripción de la forma, capítulo 6 libro Jensen (Dibujo y diseño en ingeniería) y OVA Reconocimiento de vistas.
                          yenny paola mondragon
                          Dibujo de ingeniería unidad 3 dibujo de conjunto Wilmer Pesillo periodo 2016_4
                          wilmer pesillo
                          UNIDAD 3 – DIBUJO DE CONJUNTO
                          Laura Patiño
                          DIBUJO DE CONJUNTO
                          Norbey Chamorro
                          DIBUJO DE CONJUNTO UNIDAD III
                          Jose Cristancho
                          DIBUJO DE INGENIERIA MOMENTO 3
                          Fredy Escobar
                          Mapa Mental ¨Dibujo Proyectivo¨
                          Mauricio Gomez
                          UNIDAD 3: DIBUJO DEL CONJUNTO
                          Angela Inés Vásquez Triviño
                          DIBUJO DE CONJUNTO
                          cristian triana
                          DIBUJO PROYECTIVO. JEINER RANGEL
                          jeiner rangel
                          Dibujo de conjunto Unidad 3 Ramon Efros Barreto 212060_48 2016-04
                          Ramón Efros Barreto