Principles of basic electrical circuits

Description

2 Electrical Science Quiz on Principles of basic electrical circuits, created by Vito Martino on 09/05/2014.
Vito Martino
Quiz by Vito Martino, updated more than 1 year ago
Vito Martino
Created by Vito Martino almost 12 years ago
3072
34

Resource summary

Question 1

Question
Look at the following question
Answer
  • 0.356 Ω
  • 0.536 Ω
  • 0.178 Ω
  • 0.235 Ω

Question 2

Question
Answer the following question
Answer
  • 50 m
  • 25 m
  • 30 m
  • 40 m

Question 3

Question
Answer the following questions
Answer
  • 0.065 Ω
  • 0.552 Ω
  • 0.045 Ω
  • 0.055 Ω

Question 4

Question
Which of the following formulas can calculate power in a resistive circuit

Question 5

Question
3 x 12Ω resistors are connected in parallel to a 200V supply, calculate the total power of the circuit.
Answer
  • 10,000W
  • 400W
  • 1,000W
  • 1,111W

Question 6

Question
Two resistors of 20 ohms and 40 ohms are connected in series across a 120v d.c. supply, the current flowing in the circuit will be:
Answer
  • 20 A
  • 2 A
  • 5 A
  • 0.5 A

Question 7

Question
If three resistors are connected in series and have resistances of 20 Ω, 30 Ω, and 40 Ω then the total resistance would be
Answer
  • 100 Ω
  • 90 Ω
  • 70 Ω
  • 80 Ω

Question 8

Question
3 x 20Ω resistors are connected in series to a 200V supply, calculate the total power of the circuit.
Answer
  • 10 KW
  • 0.666 KW
  • 0.333 KW
  • 12 KW

Question 9

Question
For the circuit shown the total resistance is
Answer
  • 10 Ω
  • 15 Ω
  • 100 Ω
  • 90 Ω

Question 10

Question
To measure the current through a load the meter must be connected
Answer
  • across the load
  • in parallel with the supply
  • in parallel with the load
  • In series with the load

Question 11

Question
To measure the voltage across a load the meter must be connected
Answer
  • before the load
  • in parallel with the supply
  • in parallel with the load
  • In series with the load

Question 12

Question
In the diagram below if I1 and I2 are ammeter readings then
Answer
  • I2 will be greater than I1
  • I1 will be greater than I2
  • I1 will be equal to I2
  • I1 will be half I2

Question 13

Question
In the diagram below instrument A measures
Answer
  • the current through R3
  • the current through R1 and R2
  • the volt drop across R1 and R2
  • the volt drop across R1 and R3

Question 14

Question
In the diagram below instrument B measures
Answer
  • the current through R3
  • the current through R1
  • the volt drop across R1 and R2
  • the volt drop across R1

Question 15

Question
Instrument A measures
Answer
  • current through a resistor
  • supply current
  • Voltage across a resistor
  • supply voltage

Question 16

Question
Instrument E measures
Answer
  • current through a resistor
  • supply current
  • Voltage across a resistor
  • supply voltage

Question 17

Question
For the circuit shown above the total current is
Answer
  • 0.1A
  • 10A
  • 20A
  • 1.1A

Question 18

Question
If four resistors each of 50 Ω are connected in parallel the overall resistance is
Answer
  • 25 Ω
  • 100 Ω
  • 12.5 Ω
  • 200 Ω

Question 19

Question
Which of the instrument numbers would measure current
Answer
  • none of them
  • 1 and 3
  • 2 and 3
  • 1

Question 20

Question
Which of the instrument numbers would measure voltage
Answer
  • none of them
  • 3
  • 2
  • 1

Question 21

Question
When current flows in a conductor, a magnetic field is created around the conductor
Answer
  • when the voltage is high enough
  • only if it is a coil
  • as long as the current flows
  • only when d.c is applied

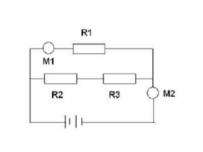
Question 22

Question
Meter M1 will measure
Answer
  • the supply current
  • the current through R1
  • the volt drop across R1 and R2
  • the volt drop across R1

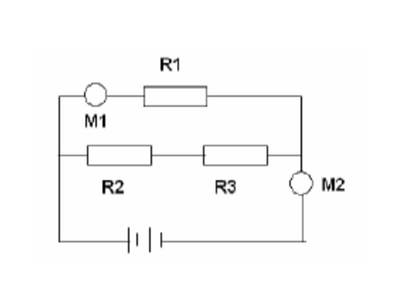
Question 23

Question
Meter M2 will measure
Answer
  • the supply current
  • the current through R1
  • the volt drop across R2 and R3
  • the supply voltage

Question 24

Question
Instrument 4 is measuring
Answer
  • the supply current
  • the current through the resistor
  • the supply voltage
  • the voltage across the resistor

Question 25

Question
Instrument 2 above is measuring
Answer
  • the supply current
  • the current through the resistor
  • the supply voltage
  • the voltage across the resistor

Question 26

Question
Of the following materials which would be the BEST conductor of electricity?
Answer
  • Nichrome
  • Steel
  • Aluminium
  • Copper

Question 27

Question
A poor conductor of electricity is:
Answer
  • Glass
  • Copper
  • Aluminium
  • Silver

Question 28

Question
The resistance of an electrical conductor is:
Answer
  • Affected by the weather
  • Determined by the formula I = P x V
  • Inversely proportional to length and proportional to c.s.a
  • Proportional to the length and inversely proportional to the c.s.a

Question 29

Question
What is the formula for two resistors in parallel?
Answer
  • R1 + R2/R1 - R2
  • R1 - R2/R1 x R2
  • R1 + R2/R1 x R2
  • R1 x R2/R1 + R2

Question 30

Question
When the current through a conductor increases
Answer
  • the voltage decreases
  • the temperature decreases
  • the temperature increases
  • the resistance decreases

Question 31

Question
The current in a circuit is 100A and the resistance is 0.1 Ohm. The supply voltage is
Answer
  • 14V
  • 20V
  • 12V
  • 10V

Question 32

Question
The equation for current flowing in a resistive circuit is
Answer
  • I = R/P
  • I = R/V
  • I = P/R
  • I = V/R

Question 33

Question
The total resistance of two resistors of 20 Ohms and 35 Ohms connected in series is
Answer
  • 50 Ohms
  • 45 Ohms
  • 15 Ohms
  • 55 Ohms

Question 34

Question
When an electric current flows through a conductor it
Answer
  • Cools down and expands
  • Cools down and contracts
  • Heats up and contracts
  • Heats up and expands
Show full summary Hide full summary

Similar

Know the principles of electricity
Vito Martino
Topic 5 Electricity & Magnetism
Jeffrey Piggott
Physical Science 2nd Quarter Assessment
Selam H
Using GoConqr to study science
Sarah Egan
Using GoConqr to teach science
Sarah Egan
AQA Physics P1 Quiz
Bella Statham
GCSE AQA Physics - Unit 3
James Jolliffe
Using GoConqr to teach French
Sarah Egan
Using GoConqr to study geography
Sarah Egan
Using GoConqr to study Economics
Sarah Egan
Using GoConqr to study English literature
Sarah Egan